삼성전자가 2024년 1월18일 언팩행사에서 갤럭시 S24공개후 마지막에
갤럭시 링의 티저를 살짝공개했음에도
탄성이 나왔습니다.~ 반지라니~우와~~~링버전입니다.~
소문으로만 듣던 갤럭시 링이 공식적으로 공개가 되었습니다.


언팩에서는 티저만 보여줘서 아직 공식적으로 공개된 정보는 거의 없습니다.
해서 성능은 어떤지, 어떤 기능이 탑재되었는지,가격은 어찌될지 아무도 모릅니다.(삼성외에는)


수면의 질을 측정 가능하고 몸이 활동을 시작하기 전 준비도를 측정하는 기능 탑재
운동이나 활동을 파악하는 기능이 아닐까 싶은데요~ 특허에 다양한 건강추적기능을 제공할것으로 보입니다

기능예상
수면측정
신체의 준비도 측정
운동기록
건강 추적 기능
스마트 홈

갤럭시 링의 가격(유추)
300달러 전후로 예상가능
갤럭시 워치6 현재 300달러에 판매중
이와 비슷하거나 약간 더 비싼 가격으로 출시예상


오우라는 이미 구독 서비스를 진행중이고, 애플의 애플워치 울트라모델에서도
스쿠버다이빙 관련 기능은 구독 서비스로 운영하고 있네요
오우라링이 나왔을때도 센세이션이였지만~삼성에서 나온다니~더 기대기대~

다소 두껍긴하지만 이런 기능이 탑재된걸 손에 끼울수있다는거에 감탄할따름입니다.
개인적으로 진짜 영화에서나 보던 장면이 현실화가 되네요
블랙,골드,실버 색상이 전시되어있어 색상은 무난하게 고급스러운것 같습니다.

심박수,움직임,호흡지표를 기반
수면패턴,활동량등 건강데이터를 수집,분석해주는 헬스트랙커의 일종
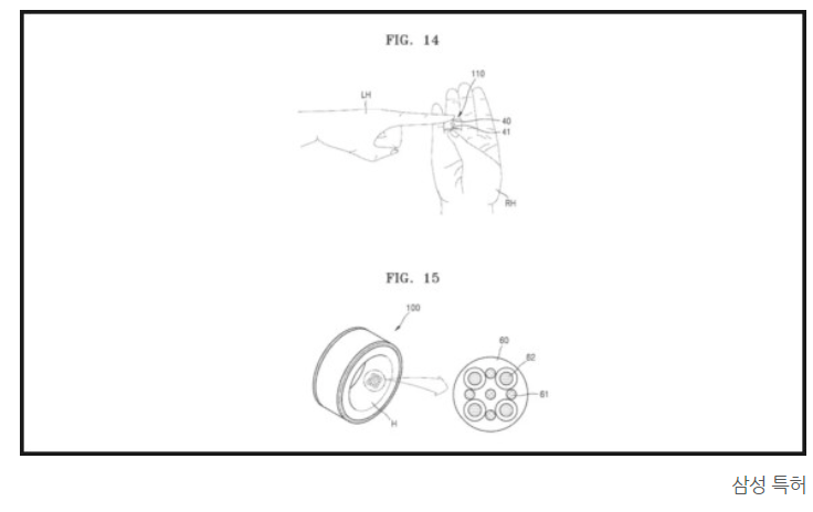
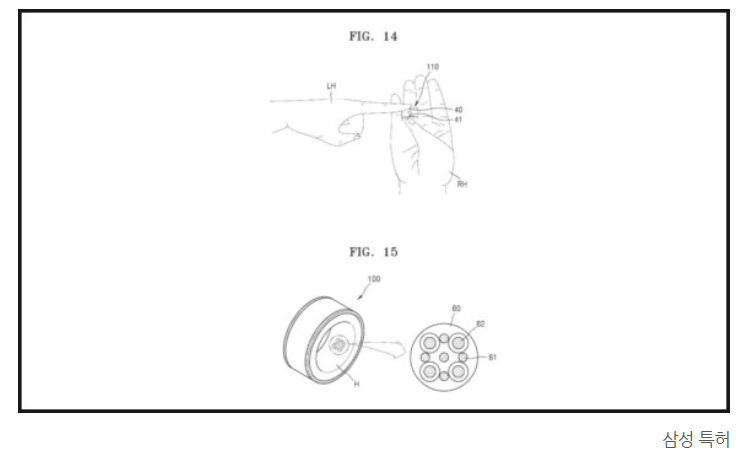
반지안쪽센서로 인해 좀더 밀착해서 섬세하게 센싱이 가능
시계로 차는것보다는 훨씬 편리하죠

무엇보다 심장에 관련된 건강정보측정 기능입니다.
심박수 및 혈압과 같은 기본 신체 정보를 모니터링이 되다 보니 슬립케어용으로 사용하기 좋겠죠
부모님들 나이대의 어르신분들의 건강을 지속적으로 체크하는 용도로 높은 기능이네요
핀란드회사에서 만든 오우라링~



현재는 삼성전가 갤럭시링의 공식적인 출시일은 없지만 7월쯤에 열리는
언팩행사에서는 예약을 진행하고 판매되지않을까싶습니다.


시계는 줄길이조절착용가능~ 반지는 내 손가락크기에 맞게 사이즈를 구매해야하는게..음..좀..
그래도 9개사이즈가 있다고 하니 선택의 폭은 넓습니다.

별도의 액정이없기에 최대 9일까지 사용가능하다고 합니다.
기본기능은 수면,심장박동 등 신체에 관련된 기본 정보들을 수집하고있어 너무 괜찮은것같습니다.
요즘은 1순위가 건강아니겠습니까

혈당,체성분 측정등은 확실치는 않지만 탑재가능 하다는 의견들이 많더라구요
예상되는 기능이지만 넣었으면 좋겠습니다.
여자분들의 경우 생리주기예상 기능도 있다고 합니다.~좋네요
갤럭시워치처럼 스마트폰없이 자체 결제가 가능할수도 있다니 너무좋다~
하지만 링이 워치를 대신하는것은 아니라고 합니다.~(삼성전자발표)


'일상다반사' 카테고리의 다른 글
| 근로장려금 신청방법 3월하반기 신청시작 4천만원에서 7천만원 상향 (0) | 2024.03.01 |
|---|---|
| 영화파묘 관람평 300만 돌파 흥행돌풍 (0) | 2024.02.29 |
| 크리스마스시즌제품들로 가득한 모던하우스 구경하기 (0) | 2023.11.27 |
| 부산 부일카센터 복권천하명당 로또1등 가즈아~~~ (0) | 2023.11.20 |
| 롯데백화점 수입과자코너 종류가 어마어마합니다 이정도는되어야지! (0) | 2023.11.17 |